Hauts hidraulikoen zigiluak hondakinen zigiluek sor ditzaketen zigilatzaileetako bat da. Produktu mota horretako eredu desberdinak ezagutu ditzakezu eta egiturazko konbinazioak ere egin ditzakezu. Beharrezkoa izanez gero, gurekin harremanetan jar zaitezkeela jar zaitezke edo konponbide pertsonalizatuak egiteko, edo gurekin harremanetan jarri lagin liburu bat lortzeko.
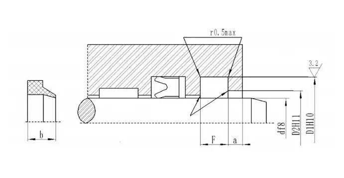
RCF01 eta RCF02 bi norabideko hauts-zigiluak dira, ezpain bikoitzeko hautsaren eraztun batez osatutako ptfe materialen eta O itxurako gomazko eraztun batez betetako. O-eraztunak aurrez kargatzeko indarra eskaintzen du PTFE eraztunaren higadura konpentsatzeko. RCF01 egokia da lanaldi astunetarako, hala nola, hautsezko edo hotz inguruneak eta maiztasun handiko mugimenduak elkarrekiko mugimenduak. Zirrikitu zatiak 30mm baino gutxiagoko ardatz diametroetarako erabili behar dira. RCF02 egokia da mugimenduak, kulunkatzea edo espiral mugimendu baldintzak.
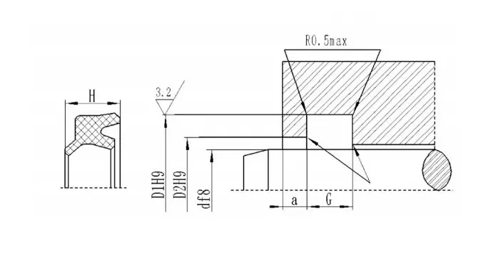
RCF03 ezpain bakarreko hauts-eraztun batez osatutako hauts-eraztun bat da, PTFE materialez eta O itxurako gomazko eraztun batekin. Bere funtzioa hautsa urratzea da eta sistema kutsatzea saihestea da. Egokia da mugimendu elkarrekiko, kulunkatzeko edo espiral mugimenduaren baldintzak.
RCF04 eta RCF05 ezpain bikoitzeko hautsa da, eraztun bereziko eraztun batez osatutako ezpain zigilatzaile batekin eta hautsa gabeko ezpainarekin eta bi o-eraztunekin, zigilatze orokorra hobetzeko erabiltzen direnak. Bizitza luzeko ezaugarriak, marruskadura baxua, biskositatea eta fidagarritasun handia ditu. RCF04 batez ere nekazaritzako makineria, prentsa hidraulikoak, injekzio moldatzeko makinak, kontrol sistema hidraulikoak, eskorga, ijezteko makinak, garabiak eta kargatzeko eta deskargatzeko makineria erabiltzen da. RCF05 batez ere prentsa hidraulikoetan, injekzio moldatzeko makinetan, ijezteko makinetan, makineria metalurgikoetan eta abar erabiltzen da bereziki diametro handiko pistoi-hagaxkak hautsezko zigiluetarako.
DHS hautsaren eraztuna funtzio bikoitzeko hauts eraztuna da, eta horrek hautsontziko efektu ona du eta zigilatzeko olio zinema funtzio jakin bat du. Materialak errendimendu handiko poliuretanoa, gomazko nitrila eta fluororubber dira.
J itxurakoa eta Jase formatuak zilindro hidrauliko hidraulikoko hagaxkak edo balbula zurtoinak egiteko erabiltzen dira hautsa zikindu ahal izateko. Materialak poliuretanoa (tpu / cpu) eta kautxua dira. Zirrikituak eta produktuen dimentsioak eta tolerantziak JB / T6657-93 eta JB / T6656-93 betetzen dituzte.
Hauts eraztun gsm erabiltzen da kanpoko kutsatzaileek sistema hidraulikoan eta zigilatzeko sisteman nahasteko, eta olio hidraulikoa lubrifikazio sistemara itzul dezakete kanpotik ihes egin gabe, zigilatze laguntzaileak eraginik izan gabe. Materialak gomazko natrile, fluororubber eta poliuretanoa dira.
GP1 eta GP6 hautsa eraztunak kutsatzaileak sistema hidraulikoan eta zigilatzeko sisteman nahasteko erabiltzen dira. Materiala gomazko nbr nitrile da, eta Fluororubber FKM tenperatura altuan hautatzen da. GP6 batez ere diametro handiko pistoi hagaxkak zigilatzeko erabiltzen da.
AF motako hautsaren eraztuna zilindro hidraulikoan sartzeko hautsa, zikinkeria, harea eta metalezko patata frijituak ekiditeko erabiltzen da. Murriztu elementu irristakorretan barneratutako kanpoko kutsatzaileek eragindako marradurak. Hauts iragazgaitza efektua lor daiteke hautsproof eraztun ezpainaren diseinu bereziaren bidez. Eraztunak higadura erresistentzia sendoaren ezaugarriak ditu, deformazio iraunkor txikiak eta kanpoko eragin mekanikoarekiko erresistentzia. Hautsazko eraztuna tinko instalatu daiteke Axial Open Groove-ren posizio egokian, zigilatzeko zirrikituaren eta metalaren kanpoko diametroaren arteko interferentziak erabiliz. Egokitasuna hustu egiten da, beraz, ezpaina oso babesgarria da kanpoko arrazoiek eragindako kalteen aurka. Ingeniaritza ikuspegitik, AF motako hautsa hautsezko eraztuna zilindro buru zigilatzeko gailu egokia da.
Produktuen ezaugarriak eta aplikazioak:
Agindu adibidea:
Agindu eredua RCF01-80-PTFE3-R01
RCF01-80-EREDUA Diametroa PTFE3-General PTFE R01-rekin bat datorren gomazko kodean
Nitrile kautxua (NBR) - R01 Fluororubber (FKM) -R02
Agindu eredua RCF02-80-PTFE3-R01
RCF02-80-Eredua Diametroa PTFE3-Unibertsala aldatu da PTFE R01-rekin bat datozen gomazko materialaren kodea
Nitrile kautxua (NBR) - R01 Fluororubber (FKM) -R02
Agindu eredua RCF03-80-PTFE3-R01
RCF03-80-EREDUA Diametroa PTFE3-Universal Aldatutako PTFE R01-rekin bat datorren gomazko kodean
Nitrile kautxua (NBR) - R01 Fluororubber (FKM) -R02
Agindu eredua RCF04-80-PTFE3-R01
RCF04-80-EREMUA Diametroa PTFE3-Unibertsala Aldatutako PTFE R01-rekin bat datorren gomazko materialaren kodea
Nitrile kautxua (NBR) -R01 fluororubber (FKM) -R02
Agindu eredua RCF05-80-PTFE3-R01
RCF05-80-Eredua Diametroa PTFE3-General General PTFE RO1-rekin bat datorren gomazko materialaren kodea
Nitrile kautxua (NBR) -R01 fluororubber (FKM) -R02
Eskaera eredua: DHS-130 * 143 * 8/9 / 9,5-R01 D * D1 * G / H
J motako hautsaren zigilua
Ja motako hautsaren zigilua
Gsm
Hautsaren zigilua GSM eskaera zenbakiarekin markatuta dago, adibidez: GSM4048 40-ardatz diametroa D 48-groove beheko diametro d
GP1
Markaketa Adibidea: GP1-70 * 82 * 4/8 Model-d * d * l / h
GP6
Markatzeko metodoa: GP6-70 * 80,6 * 5.3 / 7 eredu-d * d * l / h
-Ren
Dkob
Zehaztapenak
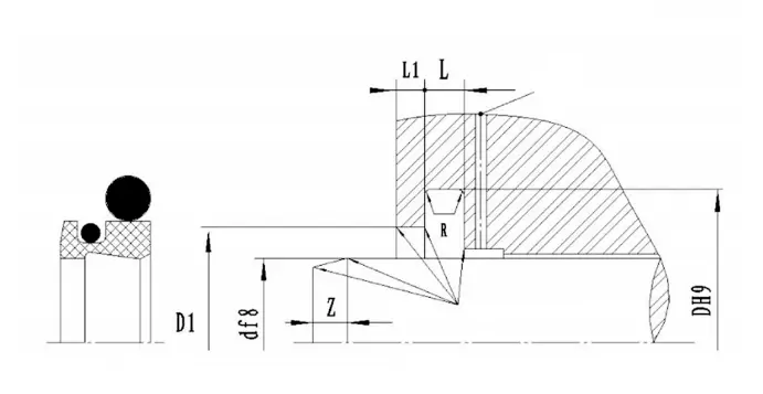
Rcf01| Ardatzaren diametroaren barrutia D f8 |
Groove diametroa D h9 |
Groove zabalera L+0.2 |
Zulo irekiko diametroa Erabili1H11 | Zulo zabaleko zabalera a≥ |
Txoko biribilak R≤ ≤ |
O-ring alanbre diametroa erabiliO |
| 19 ~ 39 | D + 7,6 | 4.2 | D + 1,5 | 3 | 0.8 | 2.65 |
| 40 ~ 69 | d + 8,8 | 6.3 | D + 1,5 | 3 | 0.8 | 2.65 |
| 70 ~ 139 | d + 12.2 | 8.1 | D + 2.0 | 4 | 0.8 | 3.55 |
| 140 ~ 399 | d + 16,0 | 9.5 | D + 2,5 | 5 | 1.5 | 5.30 |
| 400 ~ 649 | d + 24,0 | 14.0 | D + 2,5 | 8 | 1.5 | 7.00 |
| 650 ~ 1500 | d + 27.3 | 16.0 | D + 2,5 | 10 | 2.0 | 8.60 |
| Ardatzaren diametroaren barrutia D f8 |
Groove diametroa D h9 |
Groove zabalera L+0.2 |
Zulo irekiko diametroa Erabili1H11 | Zulo zabaleko zabalera a≥ |
Txoko biribilak R≤ ≤ |
O-ring alanbre diametroa erabiliO |
| 4 ~ 11 | D + 4,8 | 3.7 | D + 1,5 | 2 | 0.4 | 1.80 |
| 12 ~ 64 | D + 6,8 | 5.0 | D + 1,5 | 2 | 0.7 | 2.65 |
| 65 ~ 250 | d + 8,8 | 6.0 | D + 1,5 | 3 | 1.0 | 3.55 |
| 251 ~ 420 | d + 12.2 | 8.4 | D + 2.0 | 4 | 1.5 | 5.30 |
| 421 ~ 650 | d + 16,0 | 11.0 | D + 2.0 | 4 | 1.5 | 7.00 |
| 651 ~ 1500 | d + 20,0 | 14.0 | D + 2,5 | 5 | 2.0 | 8.60 |
| Ardatzaren diametroaren barrutia D f8 |
Groove diametroa Dh9 |
Urratsaren diametroa D1 H11 |
Groove zabalera L+0.2 |
Zabalera orokorra L1 |
Txoko biribilak Rmaax |
Chamfer luzera Kirm |
| 20 ~ 39,9 | D + 7,6 | D + 1 | 4.2 | 8.2 | 0.4 | 3 |
| 40 ~ 69,9 | d + 8,8 | D + 1,5 | 6.3 | 10.3 | 1.2 | 4 |
| 70 ~ 139,9 | d + 12.2 | D + 2.0 | 8.1 | 12.1 | 2 | 6 |
| 140 ~ 399,9 | d + 16,0 | D + 2.0 | 11.5 | 15.5 | 2 | 8 |
| 400 ~ 649,9 | d + 24,0 | D + 2,5 | 15.5 | 19.5 | 2 | 10 |
| 650 ~ 1000 | d + 27.3 | D + 2,5 | 18.0 | 23.0 | 2 | 12 |
| Ardatzaren diametroaren barrutia D f8 |
Groove diametroa Dh9 |
Urratsaren diametroa D1 H11 |
Groove zabalera L+0.2 |
Alboko zabalera L1 |
Txoko biribilak Rmaax |
Chamfer luzera Kirm |
| 100 ~ 229 | d + 22.2 | d + 10,7 | 6.3 | 4.2 | 1.2 | 6 |
| 230 ~ 299 | d + 24.2 | d + 10,7 | 6.3 | 4.2 | 1.2 | 8 |
| 300 ~ 629 | d + 33.0 | d + 15.1 | 8.1 | 6.3 | 1.2 | 10 |
| 630 ~ 1000 | d + 36,5 | d + 15.1 | 9.5 | 6.3 | 2 | 12 |
| Produktuaren zenbakia | d | En D1 | H | G+0.3 | D2 | a |
| Dhs 12 | 12 | 20 | 6 | 5 | 16.3 | 2 |
| Dhs 14 | 14 | 22 | 6 | 5 | 18.3 | 2 |
| € 16 | 16 | 24 | 6 | 5 | 20.3 | 2 |
| Dhs 18 | 18 | 26 | 6 | 5 | 22.3 | 2 |
| Dhs 20 | 20 | 28 | 6 | 5 | 24.3 | 2 |
| Dhs 22 | 22 | 30 | 6 | 5 | 26.3 | 2 |
| Dhs 25 | 25 | 33 | 6 | 5 | 29.3 | 2 |
| 28 dhs | 28 | 36 | 6 | 5 | 32.3 | 2 |
| Dhs 30 | 30 | 38 | 6.5 | 6 | 34 | 2 |
| DHS 32 | 32 | 40 | 6.5 | 6 | 36 | 2 |
| 35 dhs | 35 | 43 | 6.5 | 6 | 39 | 2 |
| 38 dhs | 38 | 46 | 6.5 | 6 | 42 | 2 |
| Dhs 40 | 40 | 48 | 6.5 | 6 | 44 | 2 |
| Dhs 45 | 45 | 53 | 6.5 | 6 | 49 | 2 |
| Dhs 48 | 48 | 56 | 6.5 | 6 | 52 | 2 |
| Dhs 50 | 50 | 58 | 6.5 | 6 | 54 | 2 |
| DHS 55 | 55 | 63 | 6.5 | 6 | 59 | 2 |
| DHS 56 | 56 | 64 | 6.5 | 6 | 60 | 2 |



























































Helbidea
No.1 Ruichen Road, Dongliuting industria parkea, Chengyang barrutia, Qingdao hiria, Shandong probintzia, Txina
Tel
Posta elektronikoa