Ruichen zigiluen oinarrizko zigilu hidraulikoen artean, batez ere, hainbat zigilu mota daude, bakoitzak bere abantailekin. O-eraztunak oso erabiliak dira zigilatze dinamiko eta estatiko desberdinetan fabrikazio kostu baxua eta erabilera egokia direla eta. Herrialde gehienek o-eraztunetarako produktu estandar ugari formulatu dituzte, eta horien artean American Standard (AS568), Japoniako estandarra (Jisb2401) eta nazioarteko estandarra (ISO 3601/1) ohikoagoak dira. Arau nazionalak GB3452.1 eta GB1235 dira.
Izar formako zigiluaren eraztuna lau ezpaineko zigilua da X itxurako forma duena, beraz, X itxurako eraztuna ere deitzen zaio. O-eraztunean oinarritutako hobekuntza eta hobekuntza da. Bere sekzio gurutzatuen dimentsioak AEBetako o-eraztunaren berdinak dira 568a estandar gisa, eta funtsean O-ringaren erabilera ordezkatu dezake.
Star eraztunen abantailak
O-eraztunekin alderatuta, izar eraztunek marruskadura erresistentzia txikiagoa dute eta hasierako erresistentzia gutxiago dute zigilatzeko ezpainen artean barrunbe lubrifikatzailea osatzen dutelako. Bere flash ertza zeharkako ataleko zati konkretuan dagoelako, zigilatzeko efektua hobea da. Zirkular ez den sekzioa modu eraginkorrean saihestu egiten da martxan jartzean.
Star Ring lan mekanismoa
Izar eraztuna aktore bikoitzeko zigilatzeko elementua da. Indar erradialak eta axalak sistemaren presioaren araberakoak dira. Presioa igotzen den heinean, izar eraztunaren konpresio deformazioa handitu egingo da eta zigilatze indar osoa handitu egingo da eta, beraz, zigilu fidagarria eratuko da.
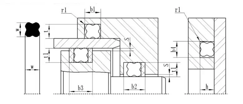
Nola aukeratu izar itxurako zigilu eraztuna
Ardatzaren eta zuloaren diametroa ezagutzen bada, hautatu izar itxurako zigilu eraztun egokia, irizpide hauen arabera:
1.. Zigilatze estatikoa edo mugimendu linealaren mugimendua: (1) Zulo zigilatzea: izarreko eraztunaren barruko diametroa, groove-rekin bateragarria izan beharko litzateke, edo zirrikitu beheko diametroaren% 2 baino gutxiago. Aurretik konpresio bidez sortutako aurre-konpresio indarrak izar itxurako zigilua bihurritzea eta biratzea eragin dezake. (2) Ardatzaren zigilatzea: izar itxurako eraztunaren barruko diametroa ardatzaren kanpoko diametroa baino berdina izan behar da 0,2 ~ 0,3mm inguru, edo ardatzaren kanpoko diametroa baino% 1 handiagoa izan daiteke. Ondorioz, zigilu eraztuna errazagoa izango da instalatu eta zerbitzu luzeagoa izatea.
2. Zigilu birakaria: izarreko eraztunaren barruko diametroa 2 ~% 5 ingurukoa izan behar da, ardatzaren diametroa baino. Zigilu eraztunak marruskadura eta beroa sortuko duelako mugimendu birakari batean erabiltzen denean, eta kautxua txikitu egingo da berotzean (Joule efektua). Hori dela eta, zigiluaren eraztuna lubrifikatu eta modu fidagarrian lan egin ahal izateko, barruko diametroa baino handiagoa izan behar da, barruko diametroa hautatu behar da. Normalean, zeharkako atal txikiagoa duen zigilu eraztun batek zigilatze estatikoaren beharrak asetzeko. Aitzitik, zeharkako atal handiagoa duen zigilu-eraztun bat hautatu behar da zigilu dinamikoa betetzeko. Presio handiko edo hutsune handien kasuan, gogortasun handiagoa duten gomazko materiala aukeratu behar da. Modurik onena PTFE atxikitzeko eraztun bat gehitzea da, presio handiko estrusioaren kalteak ekiditeko.
Estalitako o-eraztunak organikoki organikoki uztartzen ditu kautxuaren elastikotasuna eta zigilatzea Teflonen erresistentzia kimikoarekin. Silikonazko edo fluororubber barneko nukleo batez osatuta dago eta Teflon FEP edo Teflon PFA kanpoko estaldura nahiko mehea da.
Materiala: Teflon FEP eta Teflon PFA funtsean antzekoak dira, baina Teflon PFAk Teflon FEP baino tenperatura altuko erresistentzia hobea du. Tenperatura-barruti aplikagarria Teflon FEP oskola: -60 ℃ ~ 205 ℃ 260 ℃ ℃-tan erabil daiteke Teflon PFA maskorra: -60 ℃ ~ 260 ℃ 300 ℃-tan erabil daiteke denbora gutxian abantailak egiteko:
1. erresistentzia kimiko nabarmena, ia komunikabide kimiko guztientzako egokia
2. Tenperatura zabala
3. Konpresioarekiko erresistentzia ona
4. Marruskadura
5. Anti-hantura ona
6. Presioaren erresistentzia handiko
7. Iraunkortasun bikaina eta zerbitzu luzeko bizitza
Aplikazioa: Ponpak eta balbulak, erreakzio ontziak, iragazkiak, iragazkiak, presio-ontziak, bero-trukagailuak, galdarak, kanalizazio-bridak, gas konpresoreak, etab.
Aplikazio industriak: industria kimikoa, hegazkinen fabrikazioa, industria farmazeutikoa, petrolioa eta garraio kimikoa, petrolioa eta fintzea, zinema-industria, hozte-ingeniaritza, elikagaien tratamendu industria, papera industria, koloratzaileen fabrikazioa, margotzea
Zigilatzeko eraztunak instalatzeko argibideak
1.. Zigilatzeko eraztunak instalatu edo pasatzen diren zatiak leunak izan behar dira, bareak, zirrikituak eta txoko zorrotzak. Barneko zuloaren zimurtasunak 1,6μ iritsi behar du eta ardatzaren zimurtasunak 0,8UMra iritsi behar du.
2. Aplikatu olio argi garbia edo koipe garbia zigilatzeko eraztunaren gainazala eta kontaktuan dauden piezak txikitzeko.
3. Zaila bada zigilatzeko eraztuna ardatz gainean instalatzea, ur beroetan murgildu minutu batzuetan zabaltzeko. O-eraztun leun eta zabaldua instalatzeko errazagoa da. Instalatu O-ring beroa denean, eta bere tamaina jatorrizko tamainara itzuliko da hoztu ondoren.
4. Ez okertu eraztuna bortizki, bestela zimurrak teflonean eragingo ditu eta bere erabileran eragina izango du.
Estalitako o-eraztunaren gomendatutako konpresioa honako hau da:
Zigilatzeko estatikoa:% 15 -20%
Zigilatze egoera dinamikoa:% 10 -12%
Estatuko pneumatikoa:% 7 -8%
Benetako konpresioak lan baldintzak kontuan hartu beharko lituzke, batez ere laneko presioa eta bestelako faktoreak.
Produktuen ezaugarriak eta aplikazioak:
| O-Ring Performance Parametroko taula |
|
|
|
|
Zigilu estatikoa | Zigilu dinamikoa |
| Laneko presioa | Eraztunik gabe, 20mpa Max Eragilearekin, 40 MPA MAX, eusteko eraztun berezia 200MPA Max | Eraztunik gabe, 5mpa Max Atxikitzeko eraztunarekin, presio handiagoa |
| Abiadura | 0,5 m / s max, 2m / s gehienez biratuz | |
| Tenperatura | Erabilera orokorra: -30 ~ + 110, kautxu berezia: -60 ~ + 250, birakaria: -30 ~ + 80 | |
| Bitarte | Ikusi materialen atala | |
| Kalitate | O-ring ataleko diametroa w |
|
|||||
| American Standard 568 gisa British Standard BS 1516 | 1.78 | 2.62 | 3.52 | 5.33 | 6.99 | - | |
| Japoniako estandarra IT B2401 | 1.9 | 2.4 | 3.1 | 3.5 | 5.7 | 8.4 | |
| ISO 3601/1 nazioarteko estandarra DIN 3771/1 estandar alemana Txinako CB 3452.1 estandarra | 1.8 | 2.65 | 3.55 | 5.30 | 7.00 | - | |
| Nahiago diren neurriak | 1.0 | 1.5 | 2.0 | 2.5 | 3.0 | 3.5 | |
| 4.0 | 4.5 | 5.0 | 5.5 | 6.0 | 7.0 | ||
| 8.0 | 10.0 | 12.0 |
|
|
|
||
| American Standard 568 gisa (900 serie) | 1.02 | 1.42 | 1.63 | 1.83 | 1.98 | 2.08 | |
| 2.21 | 2.46 | 2.95 | 3.00 |
|
|
|
|
| Star eraztunen aplikazio sorta oso zabala da. Aukeratu material egokia tenperaturaren, presioaren eta ertainaren arabera. Izarraren eraztuna aplikazio jakin batera egokitzeko, lan parametro guztien arteko elkarrekiko mugak kontuan hartu beharko lirateke. Aplikazio-barrutia zehazterakoan, tenperatura tenperatura, etengabeko tenperatura eta funtzionamendu zikloa kontuan hartu behar dira. Aplikazio biraketan, marruskaduraren beroaren ondorioz sortutako tenperatura igoera ere kontuan hartu behar da. | |||||
| Parametro teknikoak | Zigilu dinamikoa | Zigilu estatikoa |
|
||
| Mugimendu elkarrekiko | Biraketa mugimendua |
|
|||
| Laneko presioa (MPA) | Atxikitze eraztunarekin | 30 | 15 | 40 |
|
| Eraztunik mantendu gabe | 5 | - | 5 |
|
|
| Abiadura (m / s) | 0.5 | 2.0 | - |
|
|
| Tenperatura (℃) | Orokorrak: -30 ℃ ~ + 110 ℃ |
|
|||
| Material bereziak: -60 ℃ ~ + 200 ℃ |
|
||||
| Biraketa-aldiak: -30 ℃ ~ + 80 ℃ |
|
||||
Star Ring Material:
Materiala orokorrean Shaw A70 gomazko nbr da.
O-eraztuna estalita:
Enkapsulatutako o-eraztunaren zirriborro eskematikoa
Enkapsulatutako o-eraztunaren zirrikituaren taula (gomendagarria)
| Alanbre diametroa d | A (mm) | B (mm) | ||
| Zigilu estatikoa | Zigilu dinamikoa | Zigilu pneumatikoa | ||
| 1.78 | 2.36 / 2.49 | 1.42 / 1.52 | 1.55 / 1,60 | 1.63 / 1,65 |
| 2.62 | 3.56 / 3.68 | 2.08 / 2.21 | 2.29 / 2.36 | 2.39 / 2.44 |
| 3.53 | 4.75 / 4.88 | 2.82 / 3.00 | 3.10 / 3.18 | 3.22 / 3.28 |
| 5.33 | 7.14 / 7.26 | 4.27 / 4.52 | 4.67 / 4.80 | 4.90 / 4.95 |
| 6.99 | 9.63 / 9,65 | 5.59 / 5.89 | 6.15 / 6.27 | 6.43 / 6.48 |
Ruichen Seal PTFE zigilatzeko instalazio gida
Ⅰ Instalazio gida
1. Zigilua aurrez kargatutako aldean instalatu behar da, presioaren norabiderantz begira.
2. Zilindroaren gorputza eta pistoi hagaxkak gure enpresaren laginen baldintzak betetzen dituzten hustubide-babesekin egin behar dira.
3. Ertz zorrotzak libreak eta biribilak edo chamferak izan behar dira.
4. Hariak, gida eraztun zirrikituak eta abar estali behar dira, zigilua ezin baita zirrikituak, zulatutako zuloak edo gainazal zakarrak.
5. Hutsik, hondakinak edo atzerriko beste partikula batzuk kontu handiz kendu behar dira.
6. Ertz zorrotzak dituzten tresnak ez dira erabili behar.
7. PTFE zigilatzeko eraztunak errazagoak dira olio edo ur berotuan (80 ~ 120 gradu inguru) zabaltzeko eta erraza da jatorrizko forma berreskuratzeko.
8. Zigiluaren ezpaina petrolioaren presioaren zulotik igaro behar bada, plastikozko makila erabili behar da ezpaina poliki-poliki bultzatzeko, zuloaren kamioia ezpainak kaltetu ez dadin. Zilindroaren zuloak chanffered izan behar dira. (3. irudia)
Ⅱ Instalazio metodoa
Ireki (zatituta) zirrikituak tresnarik gabe instalatu daitezke.
Itxitako zirrikituaren haga zigiluak instalatzea (1. irudia)
1. Garbitu eta olioa Searstratu, zigiluak eta instalazio tresnak.
2. Jarri gomazko eraztuna zirrikituan (kontuz ez bihurritu).
3. Konprimitu PTFE zigiluaren eraztuna giltzurruneko forma bihurtu gabe makurtu gabe.
4. Sakatu berreskuratzeko mandrila zigilura eta astiro-astiro mandrila piztu. Utzi minutu 1 eta kendu Mandril. Instalazioa osatu da.
Pistoi zigiluak instalatzea zirrikitu itxietan (2. irudia)
1. Garbitu eta olioa Searstratu, zigiluak eta instalazio tresnak.
2. Jarri gomazko eraztuna zirrikituan (kontuz ez bihurritu).
3. Pantatu PTFE zigilatzeko eraztuna gida mahuka gainean eta luzatu zigilatzeko eraztuna.
4. Bultzatu luzatutako zigilatzeko eraztuna pistoi zirrikituan.
5. Bultzatu zuzenketa mahuka zigilatzera eta biratu zuzenketa mahuka aldi berean. Kendu zuzenketa mahuka 1 minutuz utzi ondoren eta instalazioa amaitu da.
Oharra: Mesedez, kontsultatu gure enpresa gure enpresaren laginean zehaztutako produktua ezin bada zirrikitu itxi batean instalatu, baina ez da egokia zirrikitu irekia egiteko.
2. PTFE zigiluen gainetik ez da aplikagarria PTFE zigilu guztietan. Mesedez, kontsultatu gure enpresa beharrezkoa izanez gero.



























Helbidea
No.1 Ruichen Road, Dongliuting industria parkea, Chengyang barrutia, Qingdao hiria, Shandong probintzia, Txina
Tel
Posta elektronikoa