Mantendu eraztuna O-Ring edo Star eraztunarekin batera erabiltzen da, presioaren ekintzaren azpian presio baxuko aldean dagoen hutsunea estutu izana saihesteko. Presioak handitzen jarraitzen duen heinean, zigilatzeko eraztuna "estrusioa" kaltetuta dago eta azkenean huts egiten du zigilatzea. Mantendu eraztun bat erabiltzen bada, zigilatzeko eraztunaren "estrusioa" galarazi daiteke. Hori dela eta, atxikitzeko eraztuna zigilatzeko eraztunaren osagarria da. Ez da zigilua bera, baina zigilatzeko eraztunaren lan-presioaren tartea areagotzen du.
Mantendutako eraztuna O-eraztunarekin batera erabiltzen da "estrusiora" saihesteko, modu eraginkorrean babestu, modu eraginkorrean babestu, bere zerbitzuaren bizitza areagotu eta zigilatzeko hutsune handiagoa ahalbidetzen du eta, horrela, prozesatzeko kostuak murrizten dira.
Produktuen ezaugarriak eta aplikazioak:
Eragiketa forma eta egitura mota mantentzea
Datu teknikoak
Lan-presioa: zigilu estatikoa 200MPAri dagokio (atxikipen eraztunaren materialaren eta zigilu motaren arabera), zigilua 40mpara iritsi daiteke. Swing / Abiadura motelaren biraketa 15mpa inguru izan daiteke.
Abiadura: elkarrekikotasuna eta biraketa 2m / s inguru izan daitezke (materialaren arabera).
ARAUAK ARAUAK
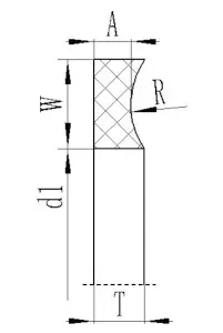
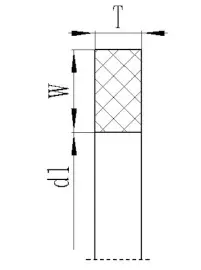
(1) T01 serieak atxikitzeko eraztunak barne diametroa d1, w zabalera w eta lodiera T. osatzen dute.
Adibidea: T01-00356 D1: 3.56 * W: 1,35 * T: 1.23
(2) T02 serieak atxikitzeko eraztunak barne diametroa d1, zabalera w eta lodiera A eta T. osatzen dute.
Adibidea: T02-027 D1: 33,78 * W: 1,35 * A: 1.14 * t: 1.24



Helbidea
No.1 Ruichen Road, Dongliuting industria parkea, Chengyang barrutia, Qingdao hiria, Shandong probintzia, Txina
Tel
Posta elektronikoa