Gure FS Udaberri Unibertsala Energizatutako zigilua errendimendu handiko udaberri unibertsala da, egitura simetrikoarekin eta ardatz-zulo unibertsalarekin. Produktu sorta hau mota batean banatuta dago, b mota, bo mota, c motakoa, d mota eta mota mota. Horien artean, Bo mota eta egin ezazu motako plastiko handiko eta estalitako o-eraztun konbinazio bat, komunikabideen erresistentzia bikaina duena; C mota, d motakoak eta egin motako ezpainetako egitura hartzea zigilatzeko gaitasuna hobetzeko, batez ere presio handiko lan baldintzetarako 40mpa gainditzen duten presio handiko lan baldintzetarako egokia da.
FS Udaberri Unibertsala Energizatutako zigiluak hainbat zigilatzeko eraztun materialak onartzen ditu (hala nola, PTFE, UPE, PK, eta abar) eta altzairu herdoilgaitzezko malgukiak (O itxurakoak edo V formako aukerak), eta errendimendu bikaina egin dezake komunikabide eta lan baldintza desberdinetan. Ardatz zuloaren diseinu unibertsala hautapen eta instalazio prozesua errazten du eta oso erabilia da presio handiko sistema hidraulikoetan, ekipamendu pneumatikoak eta komunikabide bereziak zigilatzeko produktu kimiko, petrolioaren, energiaren eta abarren arloetan.
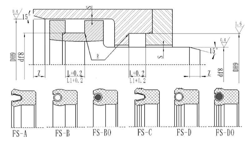
Produktuen ezaugarriak eta aplikazioak:
Lan baldintza aplikagarriak (muga balioak ez dira aldi berean agertu behar)
| Presio mpa | Abiadura m / s | Tenperatura ℃ | Bitarte | |
| <40, aplikatzeko groove zabalera l > 40mpa, mesedez, aplikatu groove zabalera l1 | <10 | Zeren / -35 ~ + 250 | Beste -200 ~ + 250 | Likido guztiak, produktu kimikoak, gasak |
Materialen hautaketa
1. bo, egin elastomer: o-eraztun estalia.
2. Zigilatzeko eraztun materiala: PTFE1, PTFE2, PTFE3, PTFE4, UPE, PK1, PK2, etab.
3. Altzairu herdoilgaitzezko iturriak O itxurako malgukiak eta V formako malgukiak aukeratu ditzake.
Adibidez
FS-A-40 * 46 * 4.7-PTFE4 D * D * L A motako pan zigilua, zigilatzeko eraztun materiala PTFE4 da,
Fs-bo-40 * 46 * 4,7-ptfe4, d * d * l bo motako pan zigilua, zigilatzeko eraztun materiala PTFE4 da, O-Ring estaldurarekin
Zehaztapenak (parametroen barrutiko tamaina guztiak eskuragarri daude)
| d | D | L+0.2 | L1+0.2(Presiorako aplikagarria> 40mpa) | Radial Clearance Smax | Chamfer luzera Kirm | Rmaax | |
| <20mpa | <40mpa | ||||||
| 3 ~ 10 | D + 3 | 2.5 | 3.9 | 0.08 | 0.05 | L | 0.4 |
| 10 ~ 22 | D + 4 | 3.2 | 4.4 | 0.10 | 0.07 | 0.4 | |
| 22 ~ 50 | D + 6 | 4.7 | 6.0 | 0.15 | 0.08 | 0.6 | |
| 48 ~ 150 | D + 10 | 7.5 | 9.0 | 0.20 | 0.10 | 0.8 | |
| 150 ~ 400 | D + 15 | 11 | 13 | 0.25 | 0.12 | 0.8 | |
Oharra: beharrezko zehaztapenak ez dira taula honetan agertzen. Mesedez, jarri gurekin harremanetan.
Gehienez 1600mm-ko produktuak hornitu ditzakegu.



































Helbidea
No.1 Ruichen Road, Dongliuting industria parkea, Chengyang barrutia, Qingdao hiria, Shandong probintzia, Txina
Tel
Posta elektronikoa