|
Presioa/MPa |
Tenperatura / °C |
Abiadura /m/s |
Ertaina |
|
≤40 |
-35~+100 (NBR O-eraztunarekin) |
≤2 |
Olio hidraulikoa, emultsioa, ura, gasa, etab. |
|
-20~+200 (FKM O-eraztunarekin) |
1. Eskuragarri dauden O-ring materialak: R01 Nitrilo Butadieno Kautxua (NBR), R02 Fluororubber (FKM), etab.
2. Zigilatzeko eraztun-materialak: Material estandarrak PTFE3 eta PTFE4; beste aukerako material batzuk PTFE1, PTFE2 eta PTFE5 dira.
Ordenatzeko Adibidea
Eskaera RC2052 eredua—80x91×4,2—PTFE3—R01 Modelo-dxDxL- Materialaren kodea
Eskaera RCX17 eredua—80x91×4,2—HPU eredua-dxDxL- Material kodea
Zehaztapenak eta parametroen taula (parametroen barruko edozein zehaztapen eskuragarri dago)
|
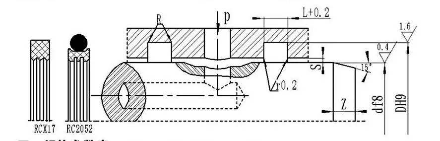
Ardatz-diametro tartea d f8 |
Lubakiaren diametroa DH9 |
Lubakiaren zabalera L+⁰.2 |
Sake erradiala Smax |
Izkin biribilduak Rmax |
Txanflarra Zmin |
|
|
0~10Mpa |
10~20Mpa |
|||||
|
6~18 |
d+49 |
2.2 |
0.15 |
0.1 |
0.4 |
2 |
|
19~37 |
d+7,5 |
3.2 |
0.2 |
0.15 |
0.6 |
3 |
|
38~199 |
d+11,0 |
4.2 |
0.25 |
0.2 |
1.0 |
4 |
|
200~255 |
d+15,5 |
6.3 |
0.3 |
0.25 |
1.3 |
5 |
|
256~649 |
d+21,0 |
8.1 |
0.3 |
0.25 |
1.8 |
7 |
|
650~1500 |
d+28,0 |
9.5 |
0.45 |
0.3 |
2.0 |
8 |
Oharra: ardatzaren diametroa ≤ 30 mm-rako, zirrikitu irekiak gomendatzen dira.
|
d |
D |
L |
d |
D |
L |
d |
D |
L |
d |
D |
L |
|
8 |
12.9 |
2.2 |
48 |
59.0 |
4.2 |
150 |
161.0 |
4.2 |
350 |
371.0 |
8.1 |
|
10 |
14.9 |
2.2 |
50 |
61.0 |
4.2 |
160 |
171.0 |
4.2 |
360 |
381.0 |
8.1 |
|
12 |
16.9 |
2.2 |
55 |
66.0 |
4.2 |
170 |
181.0 |
4.2 |
370 |
391.0 |
8.1 |
|
14 |
18.9 |
2.2 |
60 |
71.0 |
4.2 |
180 |
191.0 |
4.2 |
380 |
401.0 |
8.1 |
|
15 |
19.9 |
2.2 |
63 |
74.0 |
4.2 |
190 |
201.0 |
4.2 |
390 |
411.0 |
8.1 |
|
16 |
20.9 |
2.2 |
65 |
76.0 |
4.2 |
200 |
215.5 |
6.3 |
400 |
421.0 |
8.1 |
|
18 |
22.9 |
2.2 |
70 |
81.0 |
4.2 |
210 |
225.5 |
6.3 |
420 |
441.0 |
8.1 |
|
20 |
27.5 |
3.2 |
75 |
86.0 |
4.2 |
220 |
235.5 |
6.3 |
450 |
471.0 |
8.1 |
|
22 |
29.5 |
3.2 |
80 |
91.0 |
4.2 |
230 |
245.5 |
6.3 |
480 |
501.0 |
8.1 |
|
24 |
31.5 |
3.2 |
85 |
96.0 |
4.2 |
240 |
255.5 |
6.3 |
500 |
521.0 |
8.1 |
|
25 |
32.5 |
3.2 |
90 |
101.0 |
4.2 |
250 |
265.5 |
6.3 |
520 |
541.0 |
8.1 |
|
28 |
35.5 |
3.2 |
95 |
106.0 |
4.2 |
260 |
281.0 |
8.1 |
550 |
571.0 |
8.1 |
|
30 |
37.5 |
3.2 |
100 |
111.0 |
4.2 |
270 |
291.0 |
8.1 |
600 |
621.0 |
8.1 |
|
32 |
39.5 |
3.2 |
105 |
116.0 |
4.2 |
280 |
301.0 |
8.1 |
630 |
651.0 |
8.1 |
|
35 |
42.5 |
3.2 |
110 |
121.0 |
4.2 |
290 |
311.0 |
8.1 |
650 |
678.0 |
8.1 |
|
36 |
43.5 |
3.2 |
115 |
126.0 |
4.2 |
300 |
321.0 |
8.1 |
670 |
698.0 |
9.5 |
|
38 |
49.0 |
4.2 |
120 |
131.0 |
4.2 |
310 |
331.0 |
8.1 |
700 |
728.0 |
9.5 |
|
40 |
51.0 |
4.2 |
125 |
136.0 |
4.2 |
320 |
341.0 |
8.1 |
750 |
778.0 |
9.5 |
|
42 |
53.0 |
4.2 |
130 |
141.0 |
4.2 |
330 |
351.0 |
8.1 |
800 |
828.0 |
9.5 |
|
45 |
56.0 |
4.2 |
140 |
151.0 |
4.2 |
340 |
361.0 |
8.1 |
1000 |
1028.0 |
9.5 |
Oharra: beharrezko zehaztapenak ez dira hemen zerrendatzen; mesedez jarri harremanetan gure enpresarekin. 2800 mm-ko gehienezko diametroa duten produktuak eskaintzen ditugu.





Instalazio eta erabilera argibideak
Rui Chen-ek badaki instalazio zuzena zigiluen errendimendu osoa bermatzeko lehen baldintza dela, produktu bakoitzaren erabilerari buruzko jarraibide integrala ere emango dizugu, batez ere pieza pertsonalizatu konplexuak edo ez-estandarrak, instalazio gida grafiko zehatza egongo da.
Gida hauek definizio handiko pausoz pauso eskemekin eta testu-argibideekin batera daude instalatu aurretik ikuskapen-puntuak, instalazio-urrats zuzenak, beharrezkoak diren tresnak eta saihestu beharreko eragiketa okerrak argi erakusten dituztenak, gure ingeniariak bertan egongo balira bezala. Horrez gain, muntaketa edo sistema konplexuetarako, zure operadoreei instalazio-teknikak eta neurriak era intuitibo eta azkar menderatzeko aukera ematen dieten bideo-tutorial profesionalak sortzen ditugu, erakustaldi dinamikoen bidez, instalazio desegokiaren ondoriozko huts goiztiarren arriskua asko murriztuz.
Helbidea
No.1 Ruichen Road, Dongliuting industria parkea, Chengyang barrutia, Qingdao hiria, Shandong probintzia, Txina
Tel
Posta elektronikoa