|
Presioa/MPa |
Tenperatura / °C |
Abiadura /m/s |
Ertaina |
|
≤40 |
-35~+100 (NBR O-eraztunekin bat datozenak) |
≤2 |
Olio hidraulikoa, emultsioa, ura, gasa, etab. |
-20~+200 (FKM bat datozen O-eraztunekin) |
1. O-ring material egokiak hauek dira: R01 Nitrilo Butadieno Kautxua (NBR), R02 Fluororubber (FKM), etab.
2. Zigilatzeko eraztun-materialak: Material estandarrak PTFE3 eta PTFE4; beste aukerako material batzuk PTFE1, PTFE2 eta PTFE5 dira.
Ruichen-ek ikerketa eta garapen eta ekoizpen independenteak egin ditu lehengaien hasieratik, produktuen kate osoaren kontrolaz jabetuz.
1. Ingeniaritza plastikoak eta material konposatuak: politetrafluoroetilenoa (PTFE) hartzen dugu muin gisa, nahasketa, sinterizaziotik moldura, betetako material konposatu aldatuen hodi eta hagaxka mota guztietako produkzio independentea, eta, ondoren, zigiluak bihurtzeko doitasunez prozesatzen dugu. Honek materialaren propietateen egonkortasuna eta pertsonalizagarritasuna bermatzen du.
2. Errendimendu handiko poliuretanozko elastomeroa: prepolimeroen galdaketatik abiatzen gara, kalitate handiko poliuretanozko hodi eta hagaxka materialak modu independentean ekoizten ditugu eta hainbat zigilu motatan prozesatzen ditugu, higadura-erresistentzian, presio-erresistentzian eta hidrolisiarekiko erresistentzian nabarmenak direnak.
Ordenatzeko Adibidea
Eskaera eredua RC2054—80×69×4.2—PTFE3—R01 Model-D*d*L- Material kodea Eskaera eredua RCX18—80×69x4.2—HPU Model-D*d*L- Material kodea
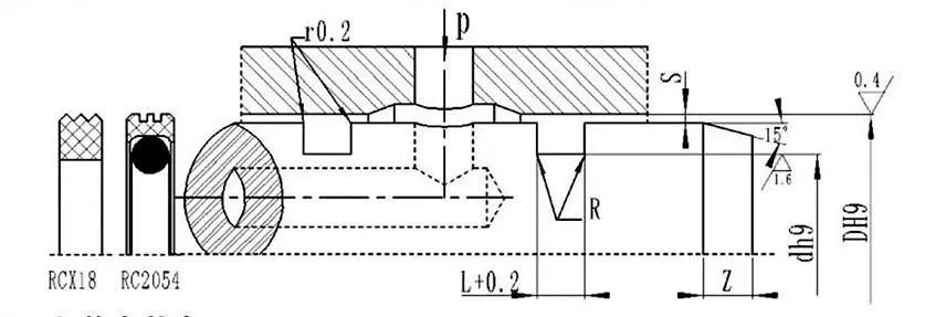
Zehaztapenak eta parametroen taula (parametroen barruko edozein zehaztapen eskuragarri dago)
|
Irekidura tartea DH9 |
Lubakiaren diametroa dh9 |
Lubakiaren zabalera L+0,2 |
Sake erradiala Smax |
Izkin biribilduak Rmax |
Txanflarra Zmin |
|
|
0~10Mpa |
10~20Mpa |
|||||
|
8~39 |
D-4.9 |
2.2 |
0.15 |
0.1 |
0.4 |
2 |
|
40~79 |
D-7.5 |
3.2 |
0.2 |
0.15 |
0.6 |
3 |
|
80~132 |
D-11.0 |
4.2 |
0.25 |
0.2 |
1.0 |
4 |
|
133~329 |
D-15.5 |
6.3 |
0.3 |
0.25 |
1.3 |
5 |
|
330~669 |
D-21.0 |
8.1 |
0.3 |
0.25 |
1.8 |
7 |
|
670~1500 |
D-28.0 |
9.5 |
0.45 |
0.3 |
2.0 |
8 |
|
D |
d |
L |
D |
d |
L |
D |
d |
L |
D |
d |
L |
|
8 |
3.1 |
2.2 |
50 |
42.5 |
3.2 |
170 |
154.5 |
6.3 |
380 |
359.0 |
8.1 |
|
10 |
5.1 |
2.2 |
55 |
47.5 |
3.2 |
180 |
164.5 |
6.3 |
390 |
369.0 |
8.1 |
|
12 |
7.1 |
2.2 |
60 |
52.5 |
3.2 |
190 |
174.5 |
6.3 |
400 |
379.0 |
8.1 |
|
14 |
9.1 |
2.2 |
63 |
55.5 |
3.2 |
200 |
184.5 |
6.3 |
420 |
399.0 |
8.1 |
|
15 |
10.1 |
2.2 |
65 |
57.5 |
3.2 |
210 |
194.5 |
6.3 |
450 |
429.0 |
8.1 |
|
16 |
11.1 |
2.2 |
70 |
62.5 |
3.2 |
220 |
204.5 |
6.3 |
480 |
459.0 |
8.1 |
|
18 |
13.1 |
2.2 |
75 |
67.5 |
3.2 |
230 |
214.5 |
6.3 |
500 |
479.0 |
8.1 |
|
20 |
15.1 |
2.2 |
80 |
69.0 |
4.2 |
240 |
224.5 |
6.3 |
520 |
499.0 |
8.1 |
|
22 |
17.1 |
2.2 |
85 |
74.0 |
4.2 |
250 |
234.5 |
6.3 |
550 |
529.0 |
8.1 |
|
24 |
19.1 |
2.2 |
90 |
79.0 |
4.2 |
260 |
244.5 |
6.3 |
600 |
579.0 |
8.1 |
|
25 |
20.1 |
2.2 |
95 |
84.0 |
4.2 |
270 |
254.5 |
6.3 |
630 |
609.0 |
8.1 |
|
28 |
23.1 |
2.2 |
100 |
89.0 |
4.2 |
280 |
264.5 |
6.3 |
650 |
629.0 |
8.1 |
|
30 |
25.1 |
2.2 |
105 |
94.0 |
4.2 |
290 |
274.5 |
6.3 |
670 |
642.0 |
9.5 |
|
32 |
27.1 |
2.2 |
110 |
99.0 |
4.2 |
300 |
284.5 |
6.3 |
700 |
672.0 |
9.5 |
|
35 |
30.1 |
2.2 |
115 |
104.0 |
4.2 |
310 |
294.5 |
6.3 |
750 |
722.0 |
9.5 |
|
36 |
31.1 |
2.2 |
120 |
109.0 |
4.2 |
320 |
304.5 |
6.3 |
800 |
772.0 |
9.5 |
|
38 |
33.1 |
2.2 |
125 |
114.0 |
4.2 |
330 |
309.0 |
8.1 |
1000 |
972.0 |
9.5 |
|
40 |
32.5 |
3.2 |
130 |
119.0 |
4.2 |
340 |
319.0 |
8.1 |
|
|
|
|
42 |
34.5 |
3.2 |
140 |
124.5 |
6.3 |
350 |
329.0 |
8.1 |
|
|
|
|
45 |
37.5 |
3.2 |
150 |
134.5 |
6.3 |
360 |
339.0 |
8.1 |
|
|
|
|
48 |
40.5 |
3.2 |
160 |
144.5 |
6.3 |
370 |
349.0 |
8.1 |
|
|
|
Oharra: beharrezko zehaztapenak ez dira hemen zerrendatzen; mesedez jarri harremanetan gure enpresarekin. 2800 mm-ko gehienezko diametroa duten produktuak eskaintzen ditugu.



Helbidea
No.1 Ruichen Road, Dongliuting industria parkea, Chengyang barrutia, Qingdao hiria, Shandong probintzia, Txina
Tel
Posta elektronikoa