Qingdao Ruichen Sealing Technology Co., Ltd.
Qingdao Ruichen Sealing Technology Co., Ltd.
Aurrealdi
X

Wiper Eraztuna

Ruichen Seal-ek abiarazitako ezpain bikoitzeko konbinazioko hauts zigilua (Txinan pistoi-hastaken zigiluen fabrikatzaile eta hornitzaile ezaguna) betetako PTFE zigilatzeko eraztun batek eta O-eraztun batek osatzen dute. Bi norabideko hautsaren babesa eta higadura konpentsatzeko funtzio automatikoak ditu, marruskadura baxua, bizitza luzea eta moldagarritasun handia, eta oso erabilia da mugimendu industrialaren hainbat eszenatokitan, hala nola elkarrekikoa, kulunka eta espirala.

Errendimendua eta Aplikazioak

Ezpain bikoitzeko konbinazio garbigailu-zigilua PTFEz betetako ezpain bikoitzeko eraztun batek eta O-eraztun batek osatutako bi norabideko garbigailu-zigilua da. O-eraztunak aurrekarga ematen du, PTFE eraztunaren higadura konpentsatzen du. Elkarrekiko, oszilaziozko edo espiral mugimenduetarako egokia da.


Funtzionamendu Baldintzak

Presioa Mpa

Tenperatura °C

m/s abiadura

Ertaina

-

-35~+100 (NBR O-ring bat datorrena)

6

Olio hidraulikoa, emultsioa, ura, etab.

-20~+200 (o-ring FKM bat datorrena)


Ordenatzeko Adibidea

Eskaera RCF02-80-PTFE3-R01 eredua

RCF02 - 80 eredua - Ardatz-diametroa PTFE3 - Erabilera orokorreko PTFE aldatua RO1 - Bat datorren gomazko materialaren kodea

Nitriloa (NBR) - R01, fluorokarbonoa (FKM) - RO2

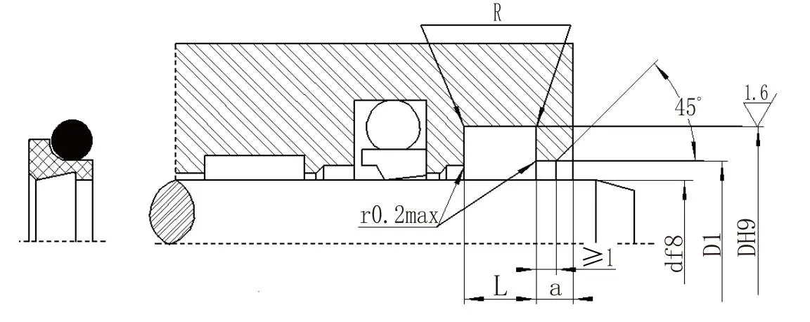
Zehaztapen-parametroen taula (parametroen barrutian edozein tamainatako produktuak eman daitezke)

Ardatz-diametro tartea d f8

Groove diametroa D H9

Ildoen zabalera L+0.2

Zulo irekiaren diametroa

D1H11

Zulo zabalera irekia a≥

Txoko Biribilduak R≤

O-ring alanbrearen diametroa

d0

4~11

d+4.8

3.7

d+1,5

2

0.4

1.80

12~64

d+6,8

5.0

d+1,5

2

0.7

2.65

65~250

d+8,8

6.0

d+1,5

3

1.0

3.55

251~420

d+12.2

8.4

d+2.0

4

1.5

5.30

421~650

d+16,0

11.0

d+2.0

4

1.5

7.00

651~1500

d+20,0

14.0

d+2.5

5

2.0

8.60


Hot Tags: Wiper Eraztuna
Bidali kontsulta
Harremanetarako informazioa
Lortu prezio lehiakorrak, laguntza teknikoa eta erantzun azkarrak. Bidali zure zehaztapenak Reichen-era egokitutako zigilatzeko soluzioetarako. Doako laginak eskuragarri.
X
Cookieak erabiltzen ditugu nabigazio esperientzia hobea eskaintzeko, guneko trafikoa aztertzeko eta edukia pertsonalizatzeko. Gune hau erabiltzean, gure cookieen erabilera onartzen duzu. Pribatutasun politika
Baztertu Onartu