Qingdao Ruichen Sealing Technology Co., Ltd.
Qingdao Ruichen Sealing Technology Co., Ltd.
Aurrealdi
X

TC olio zigiluak

Ardatz birakaria ezpain zigiluak, normalean olio zigiluak izenez ezagutzen direnak, errodamenduen karkasan instalatzen dira eta ardatz birakariarekiko mugitzen dira. Metalezko eskeleto batek euskarria eskaintzen du, eta malguki batek aurrekarga erradiala aplikatzen dio zigilatzeko ezpainari, lubrifikatzaile-ihesak eta kanpoko kutsatzaileak sartzea saihesteko.

Instalazio-egitura eta eskakizunak

1. Ardatzaren materiala: normalean karbono altzairua eta altzairu herdoilgaitza dira. Abiadura handietarako, gainazalean kromatua aplikatzen da, HRC40-45.

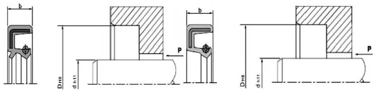
2. Ardatz birakaria eta zirrikituen diseinua: ardatzaren gainazala leuna eta errebarik gabekoa izan behar da. Mekanizazio espiraleko markek ponpaketa efektua sor dezakete, ihesak eraginez. Gomendagarria da olio-zigiluen muntaketa-eremua Ra0,1-0,5µm-ko gainazaleko zimurra arte leuntzea, abiadura handitu ahala leunagoa bihurtuz. Instalatzeko eta desmuntatzeko erraztasuna lortzeko, ardatza eta zirrikituak txanflarekin edo ertz biribilduekin diseinatu behar dira. Ikusi 1. eta 2. irudiak.

Zigilatzeko altuera

b

b1 (0,85xb)

mm

b2(b+0,3)

mm

r

gehienez.

7

5.95

7.3

0.5

8

6.80

8.3

0.5

10

8.50

10.3

0.5

12

10.30

12.3

0.7

15

12.75

15.3

0.7

20

17.00

20.3

0.7

1. Irudia. Txanflaren diseinua


d

d3

R

<10

d-1.5

2

10~20

d-2.0

2

20~30

d-2.5

3

30~40

d-3.0

3

40~50

d-3.5

4

50~70

d-4.0

4

70~95

d-4.5

5

95~130

d-5.5

6

130~240

d-7.0

8

240~500

d-11.0

12

500~800

d-14.0

14

800~1250

d-18.0

16

2. Irudia Ardatz birakariaren txanflaren diseinua


Ardatz birakarien ezpain zigiluen errendimenduan eragiten duten faktoreak 

Zigilatzeko efektuari eragiten dioten hamaika faktore daude. Olio-zigiluaz gain, hala nola, bere materiala eta egitura, ertainak, tenperatura, presioa, lubrifikazioa, abiadura eta gainazaleko zimurtasuna bezalako beste faktore batzuek ere zuzenean eragiten dute zigilatzeko efektuan, eta faktore hauek elkarren artean elkarreragiten dute askotan. Hurrengo taulak erabiltzailearen erreferentziarako soilik dira.

3. irudia. Tenperaturak olio zigiluan duen eragina


Instalazioa: arretaz instalatzea ezinbesteko baldintza da olio-zigiluen funtzionamendu egokia lortzeko.

Instalazio-diagrama (barrunbearen instalazioa)

Instalazio metodo zuzena

Aplika daitezkeen lan baldintzak

Instalazio metodo okerra

Metodo hau olio-zigiluaren amaierako aurpegia eta barrunbearen amaierako aurpegia berdinduta daudenean bakarrik da aplikagarria. Prentsatze-ekipoak azkar funtzionatzen duenean, olio-zigilua behar bezala kokatu behar da; bestela, lerrokadura desegokia gerta daiteke.

 

Diseinu hau egokia da olio-zigiluaren amaierako aurpegia barrunbearen amaierako aurpegia baino baxuagoa den egoeretarako. Nahiz eta azkar prentsatu, olio-zigilua ondo kokatu daiteke. Dena den, aparatu mota honek kokapen erradiala falta du, beraz, prentsagailuaren plaka lauaren eta presio-ardatzaren perpendikulartasun axialak nolabaiteko zehaztasuna lortu behar du.

Metodo hau egokia da olio-zigiluaren amaierako aurpegia barrunbearen amaierako aurpegia baino baxuagoa den egoeretarako. Ekipamendua azkar sakatzean, funtsezkoa da olio-zigilua behar bezala kokatuta dagoela ziurtatzea; bestela, lerrokadura desegokia gerta daiteke.


 

 


Metodo hau presio-ekipoak erabilgarri ez dauden mantentze-lanetarako edo instalazio-baldintza soiletarako soilik da egokia. Instalazioan zehar prentsaketa guztiz uniformea ​​lortu ezin denez, hainbat instalazio arazo saihestezinak dira. Batez ere, instalazioan zehar lerrokatze erradiala saihesteko diseinatuta dago, eta horrek olio-zigilua deformatu dezake, edo olio-zigiluaren uztartze-zatiaren kautxua (kanpoko zirkulua) kalteak saihesteko, instalazioan zehar etenengatik. Hori dela eta, instalazio-metodo hau, oro har, ez da gomendagarria.

 

TC/SC/TB/SB olio zigiluak

Biak metalezko marko batez, malguki batez eta gomazko gorputzez osatuta daude. Metalezko egiturak euskarria ematen du, eta malgukiak indar erradiala aplikatzen dio zigilatzeko ezpainari. TC eta TB modeloek hautsaren aurkako ezpain laguntzaile bat dute, alde batean zigilatzeko bitartekoa eta beste aldean hautsa duten aplikazioetarako egokia. TB/SB modeloek metalezko kanpoko zirkulu bat dute, eta olio-zigilua barrunbearen barruan seguruagoa eta zehatzagoa da. Hala ere, kanpoko zirkuluaren zigilatzeko gaitasuna mugatuta dago biskositate baxuko eta gasezko medioetarako; horregatik, gomendatzen da zigilatzailea aplikatzea kanpoko zirkuluan instalazioan eta erabileran.

Zeharkako forma

Eredua

Aplikazioa

Presioa

Tenperatura

Abiadura

Ertaina

Materiala

TC

Zigilatzea, hautsaren aurkakoa

0,03 MPa

-30~+160

20 m/s

Olio eta koipe lubrifikatzaileak

NBR/FKM + Karbono altzairua

SC

Zigilatzea

TB

Zigilatzea, hautsaren aurkakoa

-30~+100

25 m/s

Ura, olio lubrifikatzailea, koipea

NBR + Karbono altzairua

SB

Zigilatzea

Eskaera eredua TC-d*D*b

Zehaztapena

Zehaztapena

Zehaztapena

Zehaztapena

Zehaztapena

Zehaztapena

Zehaztapena

TC-6*17*3.5

TC-9*25*7

TC-10*30*7

TC-12*25*10

TC-13*25*7

TC-14*32*8

TC-15*30*7

TC-7*18*7

TC-10*18*7

TC-11*22*7

TC-12*26*7

TC-13*26*7

TC-14*32*10

TC-15*30*8

TC-8*18*7

TC-10*19*7

TC-I1*25*7

TC-12*28*7

TC-13*28*7

TC-14*35*7

TC-15*30*10

TC-8*20*7

TC-10*20*5

TC-11*30*10

TC-12*28*8

TC-13*30*8

TC-14*35*8

TC-15*32*7

TC-8*22*7

TC-10*20*7

TC-12*19*3

TC-12*30*7

TC-14*24*7

TC-14*40*7

TC-15*32*10

TC-8*22*8

TC-10*22*5

TC-12*20*7

TC-12*30*10

TC-14*25*7

TC-15*22*8

TC-15*35*7

TC-8*25*7

TC-10*22*7

TC-12*21*7

TC-12*32*7

TC-14*26*7

TC-15*24*7

TC-15*35*8

TC-8*25*8

TC-10*22*8

TC-12*22*5

TC-12*32*10

TC-14*27*7

TC-15*25*5

TC-15*35*10

TC-8*30*7

TC-10*22*10

TC-12*22,5*5,5

TC-12*35*7

TC-14*28*7

TC-15*25*7

TC-15*38*7

TC-9*16*5

TC-10*24*7

TC-12*22*7

TC-12*35*10

TC-14*28*8

TC-15*25*8

TC-15*38*8

TC-9*18*7

TC-10*25*5

TC-12*22*8

TC-12,7*22,22*5

TC-14*28*10

TC-15*26*7

TC-15*38*10

TC-9*19*7

TC-10*25*7

TC-12*24*6

TC-12,7*25,4*7

TC-14*29*7

TC-15*27*7

TC-15*40*8

TC-9*20*7

TC-10*25*10

TC-12*24*7

TC-12.7*26*8

TC-14*30*7

TC-15*27*8

TC-15*40*10

TC-9*22*7

TC-10*26*7

TC-12*25*7

TC-12.7*30*8

TC-14*30*10

TC-15*28*7

TC-15*42*7

TC-9*24*7

TC-10*28*7

TC-12*25*8

TC-13*23*7

TC-14*32*7

TC-15*28*10

TC-15*42*8

 




Hot Tags: TC olio zigiluak
Bidali kontsulta
Harremanetarako informazioa
Lortu prezio lehiakorrak, laguntza teknikoa eta erantzun azkarrak. Bidali zure zehaztapenak Reichen-era egokitutako zigilatzeko soluzioetarako. Doako laginak eskuragarri.
X
Cookieak erabiltzen ditugu nabigazio esperientzia hobea eskaintzeko, guneko trafikoa aztertzeko eta edukia pertsonalizatzeko. Gune hau erabiltzean, gure cookieen erabilera onartzen duzu. Pribatutasun politika
Baztertu Onartu