Qingdao Ruichen Sealing Technology Co., Ltd.
Qingdao Ruichen Sealing Technology Co., Ltd.
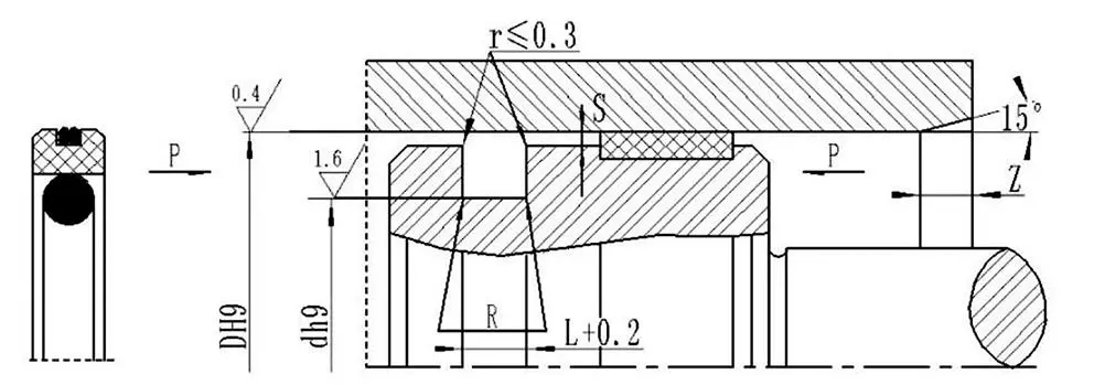
Aurrealdi
AQ motako PTFE zigilu konposatua

AQ motako PTFE zigilu konposatua

Ruichen Seal-en AQ motako PTFE zigilu konposatua erosteko interesa baduzu, materiala pertsonalizatzeko aukera oso malguak eskaintzen ditugu: elastomeroak hainbat kautxutatik hauta daitezke, NBR eta FKM barne. PTFE3 estandarraz gain, zigilatzeko eraztunek ingeniaritza-material ugari onartzen dituzte, PTFE1/PTFE2/PTFE4 barne.

AQ motako PTFE zigilu konposatua hedabide, tenperatura eta lan-baldintza desberdinetara moldagarria da, zigilatzeko sistemaren bateragarritasuna eta zerbitzu-bizitza nabarmen hobetuz.


Aplika daitezkeen lan baldintzak

Presioa Mpa

Tenperatura ℃

m/s abiadura

Ertaina

≤40

-35~+100 (NBR)

≤2

Olio hidraulikoa, emultsioa, ura, gasa, etab.

-20~+200 (FKM)


Materialen hautaketa

1. Material elastomero eskuragarriak: R01 nitrilo-kautxua (NBR), RO2 fluororubber (FKM), etab.

2. Zigilatzeko eraztunaren materiala: material estandarra: PTFE3; eskuragarri dauden beste material batzuk: PTFE1, PTFE2 eta PTFE4.

Eskaera-adibidea AQ080080 x64,5x6,3(DxdxL)PTFE3-RO1 PTFE3 RO1-Material kodea



Hot Tags:
Bidali kontsulta
Harremanetarako informazioa
Lortu prezio lehiakorrak, laguntza teknikoa eta erantzun azkarrak. Bidali zure zehaztapenak Reichen-era egokitutako zigilatzeko soluzioetarako. Doako laginak eskuragarri.
X
Cookieak erabiltzen ditugu nabigazio esperientzia hobea eskaintzeko, guneko trafikoa aztertzeko eta edukia pertsonalizatzeko. Gune hau erabiltzean, gure cookieen erabilera onartzen duzu. Pribatutasun politika
Baztertu Onartu